










| 系统类目: | LCD/OLED/EPD面板模块 > 图形型OLED显示屏 |
|---|---|
| 产品品牌: | Yousee (宇锡) |
| 产品系列: | 军工 |
| 产品型号: | YX112002ACT |
| 关键描述: | 宇锡11.2寸横屏AMOLED显示模组, 超高清2560x1536 RM6920H0 MIPI接口, -40°操作温度电容触摸AMOLED显示屏 |
| 产品类别: | 图形型 |
| 产品标签: | AMOLED显示屏 |
| 应用产品: | 工业 |
| 面板类型: | AM-OLED |
| 产品组成: | OLED屏 |
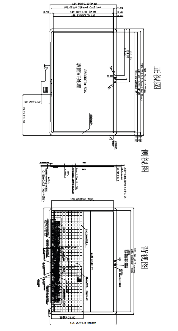
| 面板尺寸: | 11.3" |
| 分 辨 率: | 2560×1600 |
| 宽 高 比: | 15:9 (宽:高) |
| 物理形状: | 平面矩形 |
| 显示尺寸: | 244.22 (宽) × 146.53 (高) mm (A.A) |
| 外观尺寸: | 261.66 (宽) × 164.66 (高) mm |
| 最大厚度: | 3.61 mm |
| 面板亮度: | 400 (Typ.) |
| 透射对比度: | 100000:1 (Min.) |
| 可视角度: | 80/80/80/80 (左/右/上/下) |
| 灰阶深度: | 8-bit |
| 显示颜色: | 16.7M |
| 控 制 器: | RM6920H0 |
| 信号类型: | MIPI |
| 信号脚数: | 51 Pins |
| 触 摸 屏: | 投射电容触摸屏 |
| 工作温度: | -40 ~ 70 °C |
| 存储温度: | -40 ~ 80 °C |
| 类型 | 文件名 | 大小 | 下载 |
|---|---|---|---|
| YX112002ACT规格书.pdf | 1.1 M | 请登录后下载 |


